Рт схема

Рт-80 реле схема. Рт схема. Схема токового реле рт 40. Схема подключения реле рн-53. Реле рт 40 схема соединений.
Рт-80 реле схема. Рт схема. Схема токового реле рт 40. Схема подключения реле рн-53. Реле рт 40 схема соединений.
Токовое реле схема подключения. Реле рт 40 схема соединений. Схема подключения максимальной токовой защиты. Схема соединения обмоток реле рт 40. Рт схема.
Токовое реле схема подключения. Реле рт 40 схема соединений. Схема подключения максимальной токовой защиты. Схема соединения обмоток реле рт 40. Рт схема.
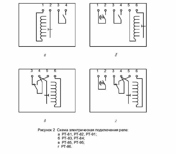
Рт 85 1 схема подключения. Конструкция реле. Конструкция реле. Рт схема. Рт-40 реле схема подключения.
Рт 85 1 схема подключения. Конструкция реле. Конструкция реле. Рт схема. Рт-40 реле схема подключения.
Параллельное соединение обмоток реле рт 40. Токовое реле рт-40 схема подключения. Реле тока рт-40 схемы включения. Реле тока рт-80 схема. Схема включения реле рт 40.
Параллельное соединение обмоток реле рт 40. Токовое реле рт-40 схема подключения. Реле тока рт-40 схемы включения. Реле тока рт-80 схема. Схема включения реле рт 40.
Рт схема. Схема включения реле тока. Рт схема. Реле тока рт-40 схема подключения. Рт схема.
Рт схема. Схема включения реле тока. Рт схема. Реле тока рт-40 схема подключения. Рт схема.
Рт схема. Реле тока рт-40 схема внутренних соединений. Индукционное реле схема. Схема внутренних соединений реле рт-80. Рт схема.
Рт схема. Реле тока рт-40 схема внутренних соединений. Индукционное реле схема. Схема внутренних соединений реле рт-80. Рт схема.
Реле рт-40. Схема максимальной токовой защиты с реле рт-40. Схема включения рт-40. Реле рт-40. Рт схема.
Реле рт-40. Схема максимальной токовой защиты с реле рт-40. Схема включения рт-40. Реле рт-40. Рт схема.
Схема внутренних соединений реле рт-80. Токовое реле схема подключения. Рт схема. Реле тока рт-40 схема подключения. Рт-40 реле схема подключения.
Схема внутренних соединений реле рт-80. Токовое реле схема подключения. Рт схема. Реле тока рт-40 схема подключения. Рт-40 реле схема подключения.
Схема включения реле тока. Реле рт-40 схема. Токовое реле рт40 из чего состоит. Схема внутренних соединений реле рт-80. Токовое реле рт-40 схема подключения.
Схема включения реле тока. Реле рт-40 схема. Токовое реле рт40 из чего состоит. Схема внутренних соединений реле рт-80. Токовое реле рт-40 схема подключения.
Реле тока рт-40 схема внутренних соединений. Реле тока рт-40 схема внутренних соединений. Рт схема. Реле тока рт-40 схема подключения. Рт 40 конструкция.
Реле тока рт-40 схема внутренних соединений. Реле тока рт-40 схема внутренних соединений. Рт схема. Реле тока рт-40 схема подключения. Рт 40 конструкция.
Реле тока рт-40 схема подключения. Рт-40 реле схема подключения. Рт схема. Токовое реле схема подключения. Рт-85/1 схема включения.
Реле тока рт-40 схема подключения. Рт-40 реле схема подключения. Рт схема. Токовое реле схема подключения. Рт-85/1 схема включения.
Реле тока рт-40 схема подключения. Рт-40 схема подключения. Рт схема. Реле рт 82/2 схема подключения. Реле рт 40 схема соединений.
Реле тока рт-40 схема подключения. Рт-40 схема подключения. Рт схема. Реле рт 82/2 схема подключения. Реле рт 40 схема соединений.
Рт схема. Реле рт 40 схема соединений. Рт схема. Реле рт 40 схема соединений. Реле тока рт 40/20 схема подключения.
Рт схема. Реле рт 40 схема соединений. Рт схема. Реле рт 40 схема соединений. Реле тока рт 40/20 схема подключения.
Рт-40 реле схема подключения. Реле тока рт-40 схема внутренних соединений. Реле тока рт-40 схема подключения. Рт-40/10 схема подключения. Рт 85 1 схема подключения.
Рт-40 реле схема подключения. Реле тока рт-40 схема внутренних соединений. Реле тока рт-40 схема подключения. Рт-40/10 схема подключения. Рт 85 1 схема подключения.
Реле тока рт-40 устройство. Схема максимальной токовой защиты с реле рт-40. Рт схема. Реле тока рт-40 схемы включения. Реле контроля тока рт-40у.
Реле тока рт-40 устройство. Схема максимальной токовой защиты с реле рт-40. Рт схема. Реле тока рт-40 схемы включения. Реле контроля тока рт-40у.
Рт схема. Реле рт 40 схема соединений. Схема реле рн-54/160. Рт-40 реле схема подключения. Реле тока рт-40 схема внутренних соединений.
Рт схема. Реле рт 40 схема соединений. Схема реле рн-54/160. Рт-40 реле схема подключения. Реле тока рт-40 схема внутренних соединений.
Реле тока рт-40 конструкция. Реле рт 40 схема соединений. Реле максимальной токовой защиты схема. Максимальной токовой защиты с реле рт-40. Конструкция реле рт-40.
Реле тока рт-40 конструкция. Реле рт 40 схема соединений. Реле максимальной токовой защиты схема. Максимальной токовой защиты с реле рт-40. Конструкция реле рт-40.
Рт схема. Рт-80 схема подключения. Рт-40 схема. Схема максимальной токовой защиты реле рт-80. Рт схема.
Рт схема. Рт-80 схема подключения. Рт-40 схема. Схема максимальной токовой защиты реле рт-80. Рт схема.
Реле рт40 соединение обмоток. Реле напряжения рн-50 схема внутренних соединений. Рт 40 р5 схема подключения. Реле рт 82/2 схема подключения. Реле рт 40 схема соединений.
Реле рт40 соединение обмоток. Реле напряжения рн-50 схема внутренних соединений. Рт 40 р5 схема подключения. Реле рт 82/2 схема подключения. Реле рт 40 схема соединений.
Рт 85 1 схема подключения. Реле тока рт-40 схемы включения. Реле рт40 соединение обмоток. Схема токового реле рт 40. Реле минимального напряжения схема подключения.
Рт 85 1 схема подключения. Реле тока рт-40 схемы включения. Реле рт40 соединение обмоток. Схема токового реле рт 40. Реле минимального напряжения схема подключения.